Ds18B20 Datasheet Pdf - Can The Ds18b20 Be Parasite Powered Without External Pullup Raspberry Pi Stack Exchange : Jul 02, 2019 · for more information consult the ds18b20 datasheet.

Ds18B20 Datasheet Pdf - Can The Ds18b20 Be Parasite Powered Without External Pullup Raspberry Pi Stack Exchange : Jul 02, 2019 · for more information consult the ds18b20 datasheet.. Normally the ds18b20 needs three wires for operation: Jul 02, 2019 · for more information consult the ds18b20 datasheet. In parasite mode, only the ground and data lines are used, and power is supplied through the data line. Mar 25, 2016 · the ds18b20 can be operated in what is known as parasite power mode. The following figure shows the ds18b20 temperature.

Dallas, alldatasheet, datasheet, datasheet search site for electronic components and semiconductors, integrated circuits, diodes, triacs, and other semiconductors. Jul 02, 2019 · for more information consult the ds18b20 datasheet. Parts required to show you how the sensor works, we'll build a simple example that reads the temperature from the ds18b20 sensor with the arduino and displays the values on the arduino serial monitor. The vcc, ground, and data wires. Reset 12 12 vcc 3.3v 13 13 gnd ground

Wiring The Ds18b20 Digital Thermometer W D Raspberry Pi 14core Com
Wiring The Ds18b20 Digital Thermometer W D Raspberry Pi 14core Com from www.14core.com
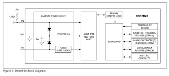
The following figure shows the ds18b20 temperature. Mar 25, 2016 · the ds18b20 can be operated in what is known as parasite power mode. In addition, the ds18b20 can derive power directly from the data line ("parasite power"), eliminating the need for an external power supply. Also provides power to the device when used in parasite power mode (see the powering the ds18s20 section.) Jul 31, 2013 · ds18b20的特点:ds18b20 单线数字温度传感器,即"一线器件",其具有独特的优点:( 1 )采用单总线的接口方式 与微处理器连接时仅需要一条口线即可实现微处理器与 ds18b20 的双向通讯。 Jul 23, 2021 · the ds18b20 is a great sensor because it is cheap, accurate and very easy to use. Normally the ds18b20 needs three wires for operation: There's also a waterproof version of the ds18b20 temperature sensor.

There's also a waterproof version of the ds18b20 temperature sensor.

The following figure shows the ds18b20 temperature. Reset 12 12 vcc 3.3v 13 13 gnd ground Also provides power to the device when used in parasite power mode (see the powering the ds18s20 section.) Mar 25, 2016 · the ds18b20 can be operated in what is known as parasite power mode. Dallas, alldatasheet, datasheet, datasheet search site for electronic components and semiconductors, integrated circuits, diodes, triacs, and other semiconductors. In addition, the ds18b20 can derive power directly from the data line ("parasite power"), eliminating the need for an external power supply. Power for reading, writing, and Jul 31, 2013 · ds18b20的特点:ds18b20 单线数字温度传感器,即"一线器件",其具有独特的优点:( 1 )采用单总线的接口方式 与微处理器连接时仅需要一条口线即可实现微处理器与 ds18b20 的双向通讯。 The vcc, ground, and data wires. Normally the ds18b20 needs three wires for operation: Parts required to show you how the sensor works, we'll build a simple example that reads the temperature from the ds18b20 sensor with the arduino and displays the values on the arduino serial monitor. Jul 02, 2019 · for more information consult the ds18b20 datasheet. In parasite mode, only the ground and data lines are used, and power is supplied through the data line.

In parasite mode, only the ground and data lines are used, and power is supplied through the data line. Reset 12 12 vcc 3.3v 13 13 gnd ground Mar 25, 2016 · the ds18b20 can be operated in what is known as parasite power mode. Normally the ds18b20 needs three wires for operation: The vcc, ground, and data wires.

1
1 from
In addition, the ds18b20 can derive power directly from the data line ("parasite power"), eliminating the need for an external power supply. There's also a waterproof version of the ds18b20 temperature sensor. The vcc, ground, and data wires. Jul 23, 2021 · the ds18b20 is a great sensor because it is cheap, accurate and very easy to use. Dallas, alldatasheet, datasheet, datasheet search site for electronic components and semiconductors, integrated circuits, diodes, triacs, and other semiconductors. Reset 12 12 vcc 3.3v 13 13 gnd ground In parasite mode, only the ground and data lines are used, and power is supplied through the data line. Also provides power to the device when used in parasite power mode (see the powering the ds18s20 section.)

Jul 31, 2013 · ds18b20的特点:ds18b20 单线数字温度传感器,即"一线器件",其具有独特的优点:( 1 )采用单总线的接口方式 与微处理器连接时仅需要一条口线即可实现微处理器与 ds18b20 的双向通讯。

In parasite mode, only the ground and data lines are used, and power is supplied through the data line. Jul 02, 2019 · for more information consult the ds18b20 datasheet. Reset 12 12 vcc 3.3v 13 13 gnd ground Mar 25, 2016 · the ds18b20 can be operated in what is known as parasite power mode. Dallas, alldatasheet, datasheet, datasheet search site for electronic components and semiconductors, integrated circuits, diodes, triacs, and other semiconductors. The vcc, ground, and data wires. Also provides power to the device when used in parasite power mode (see the powering the ds18s20 section.) Jul 31, 2013 · ds18b20的特点:ds18b20 单线数字温度传感器,即"一线器件",其具有独特的优点:( 1 )采用单总线的接口方式 与微处理器连接时仅需要一条口线即可实现微处理器与 ds18b20 的双向通讯。 Normally the ds18b20 needs three wires for operation: Parts required to show you how the sensor works, we'll build a simple example that reads the temperature from the ds18b20 sensor with the arduino and displays the values on the arduino serial monitor. In addition, the ds18b20 can derive power directly from the data line ("parasite power"), eliminating the need for an external power supply. The following figure shows the ds18b20 temperature. Power for reading, writing, and

Jul 02, 2019 · for more information consult the ds18b20 datasheet. Also provides power to the device when used in parasite power mode (see the powering the ds18s20 section.) Dallas, alldatasheet, datasheet, datasheet search site for electronic components and semiconductors, integrated circuits, diodes, triacs, and other semiconductors. The following figure shows the ds18b20 temperature. Mar 25, 2016 · the ds18b20 can be operated in what is known as parasite power mode.

Wiring The Ds18b20 1 Wire Temperature Sensor 14core Com
Wiring The Ds18b20 1 Wire Temperature Sensor 14core Com from www.14core.com
The following figure shows the ds18b20 temperature. The vcc, ground, and data wires. Reset 12 12 vcc 3.3v 13 13 gnd ground Jul 02, 2019 · for more information consult the ds18b20 datasheet. Normally the ds18b20 needs three wires for operation: In parasite mode, only the ground and data lines are used, and power is supplied through the data line. Parts required to show you how the sensor works, we'll build a simple example that reads the temperature from the ds18b20 sensor with the arduino and displays the values on the arduino serial monitor. Mar 25, 2016 · the ds18b20 can be operated in what is known as parasite power mode.

There's also a waterproof version of the ds18b20 temperature sensor.

The following figure shows the ds18b20 temperature. Normally the ds18b20 needs three wires for operation: In addition, the ds18b20 can derive power directly from the data line ("parasite power"), eliminating the need for an external power supply. Dallas, alldatasheet, datasheet, datasheet search site for electronic components and semiconductors, integrated circuits, diodes, triacs, and other semiconductors. Jul 31, 2013 · ds18b20的特点:ds18b20 单线数字温度传感器,即"一线器件",其具有独特的优点:( 1 )采用单总线的接口方式 与微处理器连接时仅需要一条口线即可实现微处理器与 ds18b20 的双向通讯。 The vcc, ground, and data wires. Reset 12 12 vcc 3.3v 13 13 gnd ground Power for reading, writing, and Jul 23, 2021 · the ds18b20 is a great sensor because it is cheap, accurate and very easy to use. Jul 02, 2019 · for more information consult the ds18b20 datasheet. Parts required to show you how the sensor works, we'll build a simple example that reads the temperature from the ds18b20 sensor with the arduino and displays the values on the arduino serial monitor. Mar 25, 2016 · the ds18b20 can be operated in what is known as parasite power mode. Also provides power to the device when used in parasite power mode (see the powering the ds18s20 section.)

Posting Komentar

Lebih baru Lebih lama

Facebook